Borrar
Concepto del 'iPhone XI'

iPhone 11: todo lo que sabemos sobre el nuevo smartphone de Apple

Los de Cupertino revalidarían un tridente de 5,8, 6,1 y 6,5 pulgadas

Viernes, 8 de marzo 2019, 00:12

Comenta

Acaba de empezar el año (como quien dice) y los grandes fabricantes de telefonía móvil ya han presentado sus buques insignia para el nuevo curso. Todos salvo Apple, que fiel a la tradición aguardará al próximo septiembre para revelar la siguiente generación del iPhone.

De hecho, los de Cupertino podrían introducir muchas de las funcionalidades vistas durante el Mobile World Congress de Barcelona, en todo caso optimizadas para sacar el máximo rendimiento a sus terminales. Serían tres según la rumorología, sucesores de los actuales iPhone XS, iPhone XS Max y iPhone XR, aunque también se insiste en el primer modelo plegable.

Repasemos a continuación todas las informaciones aparecidas en torno al iPhone XI, referido en lo sucesivo como 'iPhone 2019'.

  1. Diseño

Resulta previsible que Apple mantenga las directrices de diseño aplicadas tanto al iPhone XS como a su predecesor, lo que respaldan fuentes cercanas a las líneas de producción. Hablaríamos así de una pantalla cuasi sin marcos, biseles de acero inoxidable y una trasera en cristal.

Para esta última y en pos de diferenciar el iPhone 2019, los de Cupertino usarían vidrio escarchado, también empleado por Google en los nuevos modelos de la gama Pixel.

  1. Pantalla

Sin sorpresas en cuanto a las pulgadas de los nuevos iPhone, mantenidas en 5,8 y 6,5. La gran incóngita radica en la segunda generación del iPhone XR, cuyas 6,1 pulgadas prescindirían del LCD en favor del OLED.

Dichos paneles resultarían más delgados y ligeros gracias a la adopción de la tecnología 'Y-OCTA' (propiedad de Samsung), que unifica pantalla y superficie táctil en una sola capa. También se da por hecha la desaparición de '3D Touch', a reemplazarse por la respuesta háptica del iPhone XR.

Una última posibilidad es el empleo de cristal de zafiro (visto en el Apple Watch) para unas pantallas mucho más resistentes; a prueba de arañazos y caídas.

  1. Procesador

Si hay una mejora impepinable entre generaciones de cualquier smartphone ésa es la capacidad de procesamiento. TSMC ('Taiwan Semiconductor Manufacturing') es el proveedor de los nuevos chip A13, fabricados con tecnología de 7 nanómetros.

En términos prácticos hablaremos de un rendimiento sin precedentes, sobre todo en lo que a 'machine learning' respecta (inteligencia artificial mediante). Además, tanto el iPhone de 6,5 pulgadas como el 'iPhone XR 2' podrían atesorar 4GB de memoria RAM.

  1. Redes móviles

Xiaomi, Huawei, Samsung... no hay compañía que no haya presentado (o trabaje) en su primer terminal compatible con redes 5G. Sin embargo, la mayoría de expertos coinciden en que su implantación se postergará varios años. Estamos lejos de sacarle provecho, por muy avanzado que se presente el smartphone de turno.

Así las cosas, Cook esperaría a 2020 para autorizar los primeros iPhones con soporte 5G, cuyos módems correrán a cargo de Intel.

  1. Óptica

El aspecto más diferencial del 'iPhone 11 Max' sería la inclusión de tres cámaras posteriores, cuya disposición varía según la fuente que consultemos. El diseño menos usual muestra un triángulo de sensores (10 megapíxeles, 14 megapíxeles y 3D) acompasados por flash y micrófono; un segundo refleja una hilera de cámaras horizontales, con el flash ubicado justo en el centro.

¿Y para qué serviría la tercera cámara? Bloomberg habla de un incremento en el ángulo de visión, la captura de píxeles y el rango de zoom. Sus bondades también quedarán patentes con aplicaciones de realidad aumentada (la distancia de funcionamiento pasaría de 30 centrímetros a 5 metros). Tampoco descartemos un 'modo nocturno' para la toma de instantáneas en condiciones de baja visibilidad, al estilo de la competencia.

Tanto iPhone 11 como iPhone XR 2 integrarían doble cámara trasera con especificaciones mejoradas.

  1. Notch

Hablar del controvertido 'notch' es hacerlo también de la óptica frontal. El sistema 'TrueDepth' ocupará menos espacio y el reconocimiento con Face ID mejorará gracias al menor reflejo de la luz ambiental. Además, la cámara principal alcanzaría los 10 megapíxeles, integrando funcionalidades de realidad aumentada.

Existe menor consenso respecto a un sensor 'agujereado' en pantalla, lo que supondría la desaparición de la 'cejilla'. Así ha obrado Samsung con los distintos modelos del Galaxy S10; o Huawei, con el aplaudido Honor View 20.

  1. Conector y batería

El quid de la cuestión: ¿prescindirá Apple de su conector propietario en favor del estándar USB-C? Así ha obrado en el nuevo iPad Pro y su gama de ordenadores portátiles, por lo que la lógica dicta que ocurra más pronto que tarde. Ahora bien, hemos leído tantas informaciones asegurándolo como desmintiéndolo. Sí se da por hecha la impermeabilización del puerto de carga, acorde a un registro de patente.

Respecto a la batería, no descubrimos la rueda al asumir un incremento de mAh, en pos de mantener la autonomía bajo un procesador y óptica más capaces. La gran novedad llegaría gracias a la llamada carga inalámbrica 'bilateral', por la que prestar energía a otros teléfonos o dispositivos con tan sólo acercarlos a la trasera del nuestro. Esto casaría a la perfección con la caja de carga inalámbrica anunciada para los AirPods.

  1. Touch ID

Aunque reticentes de inicio, los usuarios se han habituado a Face ID hasta considerarlo imprescindible. No parece que los de Cupertino piensen en recuperar su lector de huellas dactilares, lo que en todo caso implicaría integarlo bajo la propia pantalla. Una vez más, así lo están haciendo las marcas de referencia.

  1. Apple Pencil

Compatible ya con todos los modelos de iPad, muchos usuarios esperan que el 'lápiz' de Apple pueda utilizarse con los próximos iPhones. Al menos con el modelo superior, tal y como ocurre con la gama Galaxy Note.

Lo cierto es que el prestigioso analista Ming-Chi Kuo lo da por hecho, al igual que otras fuentes, quienes hablan de un Pencil considertablemente más pequeño.

  1. Fecha y precio de lanzamiento

Salvo sorpresa mayúscula, iPhone XI, iPhone XI Max y iPhone XR de segunda generación se comercializarán a finales de septiembre o comienzos de octubre.

Los precios resultarían similares a los actuales, cuando no inferiores en el caso de los terminales más pequeños, medida imprescindible para relanzar las ventas del iPhone con trasera de colores.

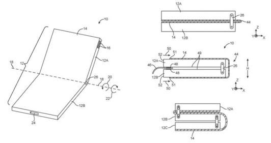
¿El primer iPhone flexible?

La última patente de Apple muestra un dispositivo flexible, cual combinación de iPhone y iPad. El documento no sorprende, tras las presentación de varios teléfonos flexibles durante el Mobile World Congress ( Galaxy Fold y Mate X como ejemplos más destacados ), si bien todo apunta a que tardaremos en verla materializada. Incluso más allá de 2020, si damos credibilidad a los rumores.

Esta funcionalidad es exclusiva para suscriptores.

Reporta un error en esta noticia

* Campos obligatorios

elcorreo iPhone 11: todo lo que sabemos sobre el nuevo smartphone de Apple

iPhone 11: todo lo que sabemos sobre el nuevo smartphone de Apple